واتساپ

8615665727870

به ما ایمیل بزنید

sdepochwater@hotmail.com

خبر

ویژگی ها و طبقه بندی شیرهای دروازه ای


دریچه دروازه که به عنوان شیر صفحه ای نیز شناخته می شود، دریچه ای است که قسمت باز و بسته شدن آن یک صفحه دروازه است و توسط یک میل سوپاپ حرکت می کند تا صفحه دروازه را به سمت بالا و پایین حرکت دهد.


ویژگی های شیرهای دروازه ای


1) مزایای شیرهای دروازه: مقاومت در برابر جریان سیال کم. گشتاور مورد نیاز برای باز و بسته شدن کم است. جهت جریان محیط نامحدود است. هنگام باز و بسته شدن پدیده چکش آب وجود ندارد. ساختار شکل نسبتاً ساده است و فرآیند ساخت بهتر است.


2) معایب شیرهای دروازه ای: دارای ابعاد خارجی و ارتفاع نصب نسبتاً بزرگی هستند و نیاز به فضای نصب قابل توجهی دارند. در طول فرآیند باز و بسته شدن، اصطکاک نسبی روی سطح آب بندی وجود دارد که در نتیجه سایش قابل توجهی ایجاد می شود. حتی در دمای بالا نیز مستعد خراش است. شیرهای دروازه معمولاً دارای دو سطح آب بندی هستند که برخی از مشکلات را به پردازش، سنگ زنی و نگهداری اضافه می کند.


شیرهای دروازه ای کاربردهای گسترده ای دارند. معمولاً برای خطوط لوله تامین آب با قطر اسمی DN50 یا بیشتر استفاده می شود.



طبقه بندی شیرهای دروازه


شیرهای دروازه ای را می توان با روش های اتصال به شیرهای دروازه ای رزوه ای، شیر دروازه ای فلنجی و شیر دروازه ای جوشی طبقه بندی کرد. با توجه به ویژگی های ساختاری، آنها را می توان به صفحات دروازه موازی و صفحات دروازه گوه ای تقسیم کرد. بر اساس ساختار میل سوپاپ، آنها را می توان به دریچه های دروازه ای متمایز (میله بلند کننده) و دریچه های دروازه ای ساقه پنهان (میله چرخان) طبقه بندی کرد.




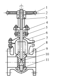
1) شیر دو دروازه موازی ساقه باز: شیر دو دروازه موازی ساقه باز در شکل 1 نشان داده شده است. دروازه آن از دو دیسک متقارن و موازی تشکیل شده است. هنگامی که گیت پایین می آید، گوه بالایی که در پایین دروازه قرار می گیرد باعث می شود که دو دروازه به سمت بیرون منبسط شوند و محکم به نشیمنگاه سوپاپ فشار بیاورند، بنابراین دریچه محکم بسته می شود. هنگامی که دروازه بالا می رود، گوه از دیسک جدا می شود. هنگامی که دیسک تا یک ارتفاع مشخص بالا می رود، گوه توسط برجستگی های روی دیسک بلند می شود و همراه با دروازه بالا می رود. این شیر ساختار ساده ای دارد. پردازش، سنگ زنی و نگهداری سطح آب بندی آن ساده تر از شیر گیت گوه است. با این حال، عملکرد آب بندی آن نسبتا ضعیف است. برای رسانه هایی با فشار بیش از 1.0 مگاپاسکال و دمای بیش از 200 درجه سانتیگراد مناسب است.



شکل 1: دریچه دو دروازهی موازی ساقه بالارونده


1. چرخ دستی 2- مهره میل سوپاپ 3- میل سوپاپ 4 - گلند پکینگ 5 - پکینگ 6 - روکش سوپاپ

7 - واشر 8 - حلقه آب بندی 9 - بدنه سوپاپ 10 - دروازه 11 - گوه بالایی


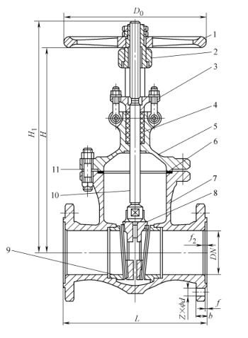
2) شیر دروازه ای گوه ساقه پنهان: همانطور که در شکل 2 نشان داده شده است، سطح آب بندی این شیر مایل است و یک زاویه را تشکیل می دهد. هرچه دمای متوسط ​​بالاتر باشد، زاویه بزرگتر است. صفحات دروازه گوه ای به ترتیب در شکل های 2a، b و c به صفحات دروازه تک، صفحات دروازه دوگانه و صفحات دروازه الاستیک طبقه بندی می شوند. پردازش، سنگ زنی و نگهداری صفحات دروازه گوه پیچیده تر از صفحات دروازه موازی است، اما عملکرد آب بندی بهتری دارند.


شکل 2 دریچه گیت گوه ساقه پنهان


الف) صفحه دروازه تک گوه ای ب) صفحه دروازه دو گوه ج) صفحه دروازه الاستیک گوه ای


1. چرخ دستی 2. نشانگر 3. روکش 4. جعبه پر کردن 5. بسته بندی 6. پوشش سوپاپ

7- میل سوپاپ 8 - مهره میل سوپاپ 9, 12 - حلقه آب بندی 10 - بدنه سوپاپ 11 - صفحه دروازه 13 - واشر


شیر دروازه الاستیک در شکل 3 نشان داده شده است. دارای مزایای ساختار ساده و استفاده قابل اعتماد است و می تواند تغییر شکل الاستیک کوچکی ایجاد کند که سفتی بسته شدن را افزایش می دهد.



شکل 3 شیر دروازه الاستیک


1. چرخ دستی 2- مهره میل سوپاپ 3 - گلند بسته بندی 4 - پکینگ 5 - روکش سوپاپ 6 - واشر

7- بدنه سوپاپ 8 صفحه دروازه 9 - حلقه آب بندی 10 - ساقه سوپاپ 11 - پیچ اتصال


در یک دریچه دروازه ساقه بالارونده، رزوه میل سوپاپ با یک مهره آستین مجهز به یک چرخ دستی متناسب می شود. انتهای پایینی میل سوپاپ دارای سر مربع است که در صفحه دروازه تعبیه شده است. هنگامی که چرخ دستی چرخانده می شود، میل سوپاپ و صفحه دروازه بالا و پایین می روند. هنگام باز کردن، میل سوپاپ از چرخ دستی خارج می شود. مزیت این است که درجه باز شدن شیر را می توان از روی طول کشیده میل سوپاپ قضاوت کرد و میل سوپاپ در تماس مستقیم با محیط انتقال قرار نمی گیرد. اشکال این است که شیر دارای ارتفاع دهانه زیادی است و محل نصب باید فضای کافی برای امتداد ساقه سوپاپ به بیرون داشته باشد. هنگام نصب در سایت حتما به این نکته توجه کنید. رزوه خارجی میل سوپاپ دریچه گیت ساقه مخفی با رزوه داخلی تعبیه شده در شیر مطابقت دارد. بنابراین، هنگامی که چرخ دستی چرخانده می شود، میل سوپاپ می چرخد ​​و باعث می شود دروازه داخل شیر بالا و پایین شود، اما میل سوپاپ نمی تواند بالا و پایین حرکت کند. شیر گیت ساقه مخفی در حین نصب فضای کمتری را اشغال می کند. محیط انتقال یافته در تماس مستقیم با میل سوپاپ قرار می گیرد و درجه باز شدن شیر را نمی توان از طریق میل سوپاپ قضاوت کرد. چه شیر دروازه ای با ساقه بالارونده باشد و چه شیر دروازه ای با ساقه بالارونده، شیر دروازه باید به صورت افقی نصب شود. میل سوپاپ باید به صورت عمودی به سمت بالا باشد و مایل نباشد. نصب میل سوپاپ به سمت پایین اکیدا ممنوع است.



اخبار مرتبط
برای من پیام بگذارید
X
ما از کوکی ها استفاده می کنیم تا تجربه مرور بهتری به شما ارائه دهیم، ترافیک سایت را تجزیه و تحلیل کنیم و محتوا را شخصی سازی کنیم. با استفاده از این سایت، شما با استفاده ما از کوکی ها موافقت می کنید. سیاست حفظ حریم خصوصی
رد کردن قبول کنید